Лебедка ручная ВБИ г/п 500 кг

Лебедка ручная ВБИ  г/п 500 кгЛебедка ручная ВБИ  г/п 500 кг схемалебедка дина
72 450 руб.

Тяговое усилие: 500 кг
Канатоемкость: 20-60 м
Масса: 24 кг
Класс сейсмостойкости: 8

Исполнение: ВБИ

Цена с канатом 20 метров

Лебедка ручная ВБИ (взрывобезопасное исполнение) Дина-2 выпускается с канатом от 10 до 60 метров.

Имеет класс взрывозащиты ЕхТ3

Изготавливается только под заказ.

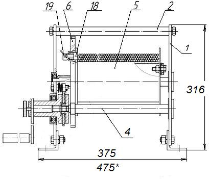
Ручная лебедка барабанная канатная ДИНА-2 состоит из корпуса, который представляет собой две щеки, соединенные между собой распорными стяжками. В корпусе установлены: вал-шестерня и барабан с зубчатым колесом; на барабане закреплен канат с грузовым крюком.

На конце вала-шестерни смонтирован грузоупорный тормоз, состоящий из храповика, двух фрикционных накладок и собачки. Длина ручки регулируется при помощи стопорного винта в зависимости от веса поднимаемого груза.

В нижней части лебедки под барабаном размещен прижимной ролик для более качественной укладки каната на барабан. Для удобства работы можно менять положение выхода каната.

Заказать лебедки ВБИ (взрывозащищенные) можно у нас на сайте, написав на почту (раздел Контакты), или набрав единый номер 8-800-350-56-90

Оставьте отзыв

Имя*:

* — Поля, обязательные для заполнения

Недавно просмотренные товары

Похожие товары

Кран электрический козловой мобильный 1 тн

Грузоподъемность: 1 тн * Пролет: до 6м * Номер балки (двутавра): 20, 24 * Высота подъема: до 4,5 м.

210 650 руб.
таль ручная шестеренная марки R-tech 0,5 тн высота 6 м

R-tech, Чехия

6 150 руб.
купить полиспаст-блок 3,2 тн 3 ролика по низким ценам

Г/п: 3,2 тн * Количество роликов: 3 * Дм ролика: 112 мм * Дм каната: 14 мм * Масса: 11 кг 

4 784 руб.
РемОснастка - whatsapp